ETH上海升级开放提款可能的影响
ERC721是以太坊上NFT最基础的元数据结构协议标准,作为加密货币的一个种类,其特点在于最小单位为1且具备非同质化特性,即任意两个NFT资产间无法交换,而基于此特性其也具备诸多的应用潜力。
随着NFT赛道的发展,NFT的应用面越来越广泛,除了最早的艺术品、收藏品,以及占据了NFT赛道市值半壁江山的PFP外,其也正在以游戏道具、音乐作品、域名等诸多新形式面向Web3用户。当然,最基础的ERC721协议标准仅具备最基本的原生NFT特性,其无法在不构建外部机制的条件下,以原生的形式满足市场发展的进一步需求,比如嵌套组合、版税分配、租赁、批量交易等等。

而随着以太坊开发团队审议和测试,陆续通过了具备不同特点的NFT协议标准提案后,以ERC721标准为基础,NFT协议标准得到不断的丰富比如ERC1155、ERC998等等,基于这些新协议标准铸造的NFT,原生具备不同的特性,并与与日俱增的NFT市场需求相匹配。
此外,还有一些以“EIP”改进提议形式存在的一些NFT协议标准(仍处于讨论状态的提案),,比如EIP4907、EIP/3664等,EIP 提案一般包括含有技术规范的设计文档以及设计逻辑。从用户的角度看,本质上ERC 与 EIP 相同,都是以太坊社区开发者为协议提出的优化提案,但当 EIP 被以太坊社区认可(当然,这个过程需要经过构思、草案、审核、最后审稿、定稿、停滞、撤回和动态等系列过程)并最终得以被大规模应用后,EIP 就成为 ERC 标准。
本文将对目前以太坊市场上,一些主要的NFT底层协议标准,进行简要的盘点与梳理。
ERC721:NFT协议标准基础
ERC721是以太坊上最早也是最基础的NFT底层协议标准,由Axiom Zen的技术总监 Dieter Shirley 在 2017年9月提出,并由William Entriken、Dieter Shirley、Jacob Evans和Natassia Sachs等人于2018年制定。其作为一种非同质化代币智能合约标准接口,允许发行基于ERC721的NFT,它规定了NFT资产的最小单位为1、不可拆分且非同质化(独一无二)的特性,ERC721是目前NFT资产的主要规范标准与基础之一(并也为其他链上NFT标准的制定提供了参照),目前以太坊绝大多数NFT都是ERC721标准的。
CryptoKitties是ERC721 NFT 标准的最早的应用案例,而随着CryptoKitties大火后,以ERC721为主要技术标准的NFT被进一步采用,并随着其叙事的不断丰富而被投资们所青睐。
ERC1155:单一智能合约批量处理NFT资产
ERC-1155是由Enjin首席技术官Witek Radomski等开发者提出,并于2018年6月17日将该标准的第一个版本放置到Ethereum的Github库中,其主要可用于游戏行业中道具的生成和处理。
ERC1155的特点在于,能够基于一个合约同时发行多个NFT(或者FT),允许使用者在同一个智能合约中无限量地重复使用同质化或者非同质化的代币,是可以一次性铸造多种多量同质化及非同质化资产的以太坊标准。这意味着,ERC1155允许我们既可以发行同质化也可以发行非同质化代币,当对同质化和非同质代币都有需求时都可以在此标准上发行,无需切换别的标准。与此同时,基于ERC1155可以批量转移代币资产,一次操作就可向不同对象转移多个代币资产。
从以往发行ERC721标准的NFT的流程上看,我们需要在合约上逐一的发行、转移,不仅效率低下且成本较高(Gas费),而ERC1155则能够极大程度的提升效率、降低成本,被一些GameFi项目所广泛采用。
目前Enjin network是支持 ERC1155 协议标准的应用之一(支持发行),此外The Sandbox也将ERC-1155作为其首选代币标准,而随着NFT赛道的发展,ERC-1155也有望被进一步采用。
ERC998:可组合代币特性
ERC998标准最初是由知名开发者Matt Lockyer,在2021年4月15日提出的一种名叫可组合非同质化代币(Composable NFTs,缩写为CNFT)的构想,并且在2022年被一些GameFi项目所采用。
ERC998是一种允许任何一个 NFT 与其他 NFT 或FT捆绑的底层协议标准,用户可以在转让 CNFT 时实现 CNFT 的整个层次结构和所有权转移。简要地说,ERC-998 可以包括以 ERC-721和 ERC-20形式的多个令牌。比如,一个游戏中的NFT道具,它可以包含多个ERC721标准的代币,以及ERC20代币组合(得到的形式可以是升级、融合等等),而该ERC998 NFT道具可以整体的交易转让,它极大的简化了NFT资产的所有权和交易行为。
ERC1948:可读取、可变信息
ERC1948可以理解为动态版本的ERC721,它不仅具备了ERC721所具备的基本特性,其也在在ERC-721的基础上,为NFT添加了一个32字节的数据字段,并且允许用户访问该NFT的读取功能,该NFT的所有者拥有更新数据的权限。
虽然ERC1948对数据存储的容量存在一定的局限性,但ERC-1948协议让NFT具有了存储动态数据的能力,比如对一些道具属性、数值的更改等等,而以此为基础随着其所能够存储数据的能力进一步提升,其将有着十分重要的应用前景。
ERC2981:版税
在几个月前,围绕对于NFT作品(以艺术品、收藏品为主)的版税问题吵得不可开交,其中持不同立场的用户对于每次交易是否收取版税的意见不同。在早期,通常是通过NFT交易平台来进行版税的设定,比如在OpenSea上,购买者支付给 NFT 创建者的版税,由 NFT 创建者自行设置,最高不得超过 10%,OpenSea 会将这些 NFT 版税收入每两周转至 NFT 创建者指定的收款地址。
而ERC2981正在将版税机制,在发行阶段嵌入到资产中,即当每次该NFT进行转账交易时,都将在交易额中扣除部分版税(可以按照固定、衰减、动态等方式对版税进行自定义),这意味着创作者获得版税,将不再依赖于NFT交易平台,并进一步帮助NFT创作者们增加收入的管道。
ERC875:批量转移资产
ERC875是一种允许用户批量交易NFT的底层协议标准,用户可以基于此标准,在一次交易中批量购买、迁移多个NFT。
ERC875协议族目前主要进行了两方面的核心改进:一是Magic Link 实现原子交易,二是打包功能。
其中Magic Link主要用来降低用户上手门槛,在将资产Token化后,用户既可以生成Magic Link,用于展示或者交易,普通用户也可以直接发出请求,而无需在一开始就支付GAS费用。打包功能主要针对诸如票务等业务,可以将多个资产进行打包,整体展示或者流转、处理。
在ERC-875协议书中,用户能够通过对包含价格、交易到期日期和签名等信息进行加密签名来下单。这个过程是在链下完成的,只有在结算时才会链上广播,这意味着用户无需支付Gas费就能进行交易,节省大量的Gas费。而当有买家愿意购买时,他所需要做的就是接受订单并广播带有订单详细信息的情况,再加上买金来完成交易。所以对于ERC875而言,除了可以降低GAS费用,也可以方便用户使用。
ERC1523:NFT保单
以NFT的形式作为保险保单的形式的确是一个不错的想法,我们看到,保单是在某些方面具有一定独特性的金融资产,保单让客户与特定风险产生关联,或具有其他独特属性,如保费、期间、承运人、承保人等。所有在将保单进一步NFT化后,保单就能够作为一种可以进行交易、转让的资产进行流通。
ERC1523是定向在该领域构建应用的一个NFT 协议标准,它在现有ERC721协议标准的基础上定义了一个最小的元数据结构,允许在智能合约中实施保险政策的标准 API,以尽可能多的让保单类别具备通用特性,虽然目前ERC1523整体的应用案例并不多,但这为日后广义上的保险在链上的进一步构建提供了基础与参照。
具备租赁特性的全家桶:ERC4907、EIP2615、EIP5006
ERC721本身并不支持NFT在使用权与拥有权之间的分离,即仅NFT的所属者具备使用权。那么ERC4907(由NFT 租赁市场 Double Protocol推出EIP4907提案,并2021年6月通过提案)、EIP2615(2020 年 4 月,由Kohshi Shiba提出)等协议标准的出现,则进一步让NFT能够将使用权与拥有权进行分离。
ERC4907与EIP2615虽然都是对ERC721的拓展,但它们存在一定的区别。
ERC4907 构建了一个可以授予地址的附加角色 ,以及角色自动撤销的时间 ( expires)。角色代表“使用”NFT的权限,但不代表转让或设置的能力。即NFT所有者可以为某地址赋予具备使用权的“租赁”特性,并在进一步建立租赁时间因素后自动形成租赁关系,并在租赁时间到期后自动解除租赁关系(该租赁关系并不会因NFT所有权的转移而改变)。ERC4907 本身毫无任何强制性手段来限制租赁者的用途,即使用权拥有者除了不能将其转让以及设置外,可以无许可的进行所有互操作性操作。目前,ERC4907 并没有对租赁次数进行设置,比如可自动直接执行的单个地址的连续租赁,而后续的开发者可以在此基础上进一步的开发。
ERC4907 的核心价值是为链上”原生租赁“提供了技术支撑,实现了 NFT 的所有权和使用权的分离,是解决NFT流动性短缺问题的重要基础设施,当然想要对ERC4907 进行支持需要对进一步对GameFi或者NFT项目方的智能合约进行升级(门槛较低)。
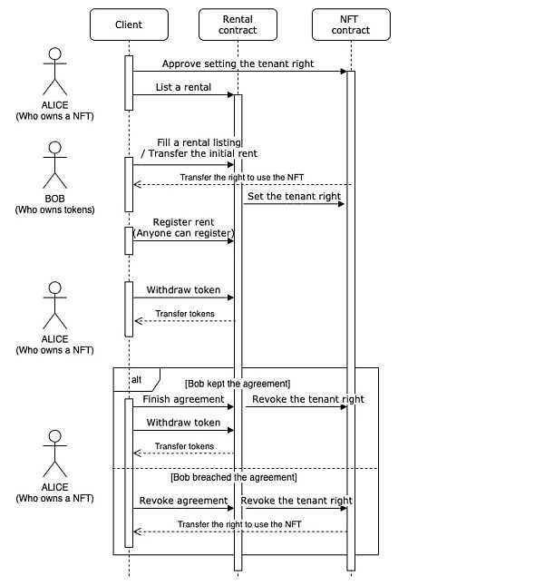
EIP2615同样是对ERC721的拓展,但其主要支持租赁与抵押功能,即NFT被抵押后能够继续被拥有使用权的用户所使用(允许用户租用自己的NFT,或者通过抵押NFT来进行抵押),以进一步为NFT资产赋予现实世界不动产资产的某些属性,其与ERC4907侧重点是不同的。

图片来源:《Economic Primitives of the Metaverse 1: Renting and Lending》
其相较于ERC4907 更加复杂,其中包括留置权持有人、所有者和用户三类角色,其中留置权持有人以及所有者有权有权转让所有者和用户角色,而用户有权利转移用户角色,智能合约则作为主要的执行者,我们看到其整体的执行逻辑十分复杂。在2020年EIP2615被提出后,始终没有进展,或许与其复杂的执行逻辑以及链上执行成本(高Gas),并且与实际的NFT市场发展、需求并不一致有关。
EIP5006则更像是ERC1155的拓展版本,EIP-5006仿照1155的数据结构,额外增加了3种数据来表示嵌套的资产角色租赁关系,基本等于是在原始的1155核心数据上,再嵌套一层补充上租赁者和出租量的数据。它的核心价值主要是将进一步强化围绕”用户创作应用场景上“所有权和使用权的分离,明确NFT扩大应用价值的方向,将会涌现更多丰富的玩法、应用场景和衍生品。
EIP3664:NFT 属性扩展协议
EIP-3664 是由 DRepublic 团队提出,其使用了一种较为巧妙的方式,来进一步解决了主流NFT标准比如ERC-721 或 ERC-1155等,在属性上表现力不足,NFT之间难以融合,且在存储上中心化(目前主要存储在服务器上)的种种问题,并且该提案进一步实现了NFT 属性的动态扩展。
EIP-3664的方案中,不需要修改现有的 ERC-721 协议和 ERC-1155 协议,它支持通过在 NFT mint 方法的 IERC721Receiver 或 IERC1155Receiver 的回调函数中为 NFT attach attributes, 也可以通过 override mint 方法自定义实现为 NFT attach 属性的方式,一个 NFT 可以无限 attach 任意多个属性。
EIP-3664 中所有属性都实现了 IERC3664 接口,基础属性包含几个基本字段:ID, Name, Symbol, URI, Balance。 EIP-3664 正在将NFT的属性 Token 化了,即我们可以认为每一个属性也是一种 NFT,这就衍生出了子 NFT 的概念,即 NFT 嵌套 NFT,NFT嵌套FT,这种特性看似简单,其实为 NFT 提供了无穷多的变化属性,并且让 NFT 的用途变得更为广泛。
属性的更新,转移,进化各种变化都可以通过扩展基础的 EIP-3664 协议来实现,目前 EIP-3664 已经实现了六种核心属性操作:可升级,可修改,可添加,可移除,可拆分,可组合。
也就是说,EIP-3664为 NFT 提供了可拆分可组合特性,能够让所有 NFT 之间自由拼装,创世发行的初始版本即是多个不同的部件的组合体,类似乐高套装,每个部件拆分后依然可以作为一个完整的NFT资产在二级市场售出。
NFT的拆分有个重要特性就是兼顾拆分后的差异化个性与完整性, 在此基础上进行进一步的数量裂变是一个非常有趣的尝试,EIP-3664协议对于NFT的发展有着至关重要的意义。
会员权益类NFT协议标准:EIP4885、ERC5643
EIP4885协议标准是一种订阅代币的协议接口,让持有者订阅 NFT 和多代币,该协议的核心功能,是支持设置NFT的访问期限,更好的服务于会员制等生态体系。比如音乐、电影、书籍内容等所有者对关注着的访问授权。
EIP5643则是是EIP-721的扩展,它为 NFT 提出了一个额外的接口,同样可以用作定期的、可过期的订阅,该界面包括续订和取消订阅的功能。
SBT(灵魂绑定币)类协议标准:EIP5114、ERC5192、EIP4973
- EIP5114
在铸造时绑定到另一个非同质代币(NFT;例如,EIP-721 代币)的代币,之后无法转移/移动。用户不能转让所有权,铸币者也不能撤回/转让/更改所有权。
- ERC5192
以太坊社区表达了对不可转让、不可替代且具有社会定价的代币的需求,类似于魔兽世界的灵魂绑定物品。但缺乏令牌标准导致许多开发人员在用户调用传输功能时简单地抛出错误。从长远来看,这将导致碎片化和可组合性降低。
该标准是EIP-721的扩展。它提出了一个最小的接口,使用EIP-165的特征检测功能使代币绑定。灵魂绑定令牌是绑定到单个帐户的不可替代令牌。
- EIP4973
为智能合约中的账户绑定令牌 (ABT) 提出标准 API。ABT 是绑定到单个帐户的不可替代令牌。ABT 不为传输实现规范接口。该 EIP 定义了创建、分配、撤销和跟踪 ABT 的基本功能。而相比于ERC5192和EIP5114两个标准,EIP4973增加了销毁功能。
参考资料:
《产品经理的NFT初探》
《A&T View:一览现有的NFT协议》
《NFT租赁提案EIP-5006步入最后审核!让海外大型游戏的链改成为可能》
《Economic Primitives of the Metaverse 1: Renting and Lending》
《NFT铸造 | NFT平台最快能落地和赋能传统行业的工具》
来源:liurui
- 免责声明
- 世链财经作为开放的信息发布平台,所有资讯仅代表作者个人观点,与世链财经无关。如文章、图片、音频或视频出现侵权、违规及其他不当言论,请提供相关材料,发送到:2785592653@qq.com。
- 风险提示:本站所提供的资讯不代表任何投资暗示。投资有风险,入市须谨慎。
- 世链粉丝群:提供最新热点新闻,空投糖果、红包等福利,微信:juu3644。

liurui



