ETH周报 | 以太坊上周挖矿收益飙升80%;DEX月交易量超过100亿美元,Uniswap创最高日交易量(8.31-9.6)
作者 | 秦晓峰
编辑 | 郝方舟
出品 | Odaily星球日报
The Block Research数据显示,以太坊矿工 9 月 2 日,创下 1700 万美元的历史最高费用收入,该数字是 2017 年 12 月和 2018 年 1 月加密货币价格飙升时记录的最高金额的 3.7 倍。
二级市场方面,目前 ETH 价格短时可能继续保持震荡,支撑位 300 美元、350 美元;阻力位 370 美元以及 400 美元。
二、二级市场
1.现货市场
OKEx 行情数据显示,上周 ETH 价格一度突破 480 美元,而后直线下跌,一度跌至 307 美元,后反弹至 350 美元一线,周内收于 344.35 美元,一周下跌 17.3。
(ETH 日线图,图片来自OKEx)
ETH 日线图上显示,目前价格在 100 日线(绿线)获得支撑且向上反弹;未来一周,存在反弹的可能,上方阻力位是 370 美元以及 400 美元大关;但从周线来看,仍将继续回调,下方支撑位是 350 美元以及 300 美元。
2.资金流动
(数据来自币牛牛)
资金方面,上周资金波动较大:只有周一、周二资金呈现净流入,其中周一净流入7500万美元;而后五天,资金持续净流出,最大超过 3 亿美元。
上周,ETH 上周全网资金净流入接近 10 亿美元,环比上涨 1087%;从资金流动趋势来看,流出趋势放大;未来一周,资金流出趋势可能放缓,价格层面以震荡和略微反弹为主。
3.大额异动
(数据来自 Tokenview)
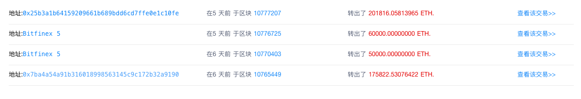
Tokenview数据显示,链上转账次数上周大幅上涨,“5 千 ETH 以上”、“1 万 ETH 以上”以及“5 万 ETH 以上”大额转账次数环比上涨 132%、125%、80%。巨鲸账户异动频次其实并没有明显上涨,本次下跌更多还是中小投资者抛售所致;结合价格走势来看,短线有反弹需求。
上周,“5 万 ETH 以上”转账次数共计 9 笔,最大转账金额 40 万个ETH,系火币热钱包转移至冷钱包;另有一笔 19.99 万个 ETH,系 Coinbase 冷钱包转至未知地址,目前已经被拆分;此外 Bitfinex 钱包内部地址互转 11 万 ETH,币安内部钱包互转 12 万;OKEx 冷钱包转至富豪榜前 300 地址 9.99 万个 ETH;其余转账未知。
欧科云链OKlink数据显示,目前 ETH 持仓前 300 名,掌握了总计 50.97% 的 ETH,环比上涨 0.85%;整个持仓分布呈现椭圆形结构,各个部分占比分别是:第 1~100 名,占比 35.2% ,环比上涨 0.21%;第 101 ~ 300 名,占比 15.77% ,环比下降 0.45%;第 301 ~ 500 名,占比 6.38% ,环比下降 0.06%;第 501 ~ 1000 名,占比 7.32%,环比上涨 0.01%;第 1001 名后,占比 35.36%,环比上涨 0.22%。
三、生态与技术
1.开发与技术
(1)以太坊核心开发人员就以太坊Gas费用问题进行讨论
在以太坊所有核心开发人员周五进行的电话会议上,开发人员讨论了各种以太坊改进提案,包括几个关于高Gas费用以及如何缓解这一问题的讨论要点。以太坊独立研究人员Alexey Akhunov谈到了Gas token的存在以及它们如何将价格推高至超出正常水平。他着重强调了内存池中经常充斥着以一定gas铸造代币的交易,并将这种方式与订单交易进行了比较。但他表示,无法轻易取消Gas投标报价的事实,可能意味着价格仍将人为地保持在高位,因为任何下跌都是默认买入。此外,他表示,尽管有人提议取消支持Gas token的退款机制,但Akhunov承认,Gas token铸造的规模只占目前Gas使用量的2%左右,这意味着它们可能产生的任何负面影响的规模可能会受到限制。但在正式讨论取消这一机制的选择之前,他需要找到更多的数据。(Cointelegraph)
(2)以太坊2.0信标链“随机性”协议证明出现漏洞,团队已着手处理
9月2日,ZenGo的研究人员披露了在Diogenes协议证明中发现的漏洞。该证明旨在为以太坊2.0随机信标链的可验证延迟函数(VDF)提供原始熵。根据ZenGo博客文章,Diogenes背后的团队Ligero Inc.正在重新起草该协议的证明以迭代该漏洞。ZenGo研究人员Omer Shlomovits称,VDF是构建真正安全的随机信标链所必需的。(CoinDesk)
2.社区之声
(1)关于DeFi,V神怎么看?
8月31日,V神表示:我个人会完全避开Yield Farming领域,直到它稳定下来,进入更可持续的领域。
9月1日,V神表示,DeFi收益耕作就像中央银行为拯救经济疯狂印钞一样是不可持续的,而且他对目前DeFi市场热潮持怀疑态度。V神还暗示说:到目前为止,我看到产生长期费用的唯一策略是某种怪异的金融攻击,抢夺流动性并从未掉期交易中窃取网络效应,我对这种策略感到悲观。
9月6日,V神表示,Uniswap创始人Hayden Adams是好的参与者,Uniswap团队付出了数年的努力,做出了正直的决定——当其他人都在尽可能快地IC0的时候,Uniswap却并不发币,但过去两周它却因此被攻击。我看到Uniswap自推出以来一直在发展,说Uniswap对社区不负责任不符合事实。
(2)V神:gas费过高并未影响到ETH支付
9月1日,V神发推表示,gas费过高并未影响到ETH支付。V神称,对于那些表示“gas费太高”的人,我的回答是:“好吧,那就应该有更多的人直接通过zksync、loopring、OMG接受付款。”
此外,V神称,严肃地说,扩展到2500以上TPS的简单支付应用程序就在这里,而我们只需要使用它。而在此之前,V神表示,更多的慈善机构应该接受以太坊捐款。
3.借贷
Defipulse数据显示,上周,链上锁仓抵押品价值从 76.9 亿美元一度上涨突破 90 亿美元,最终收于 74.9 亿美元,一周跌幅达到 2.6%;前一周(7.13~7.19)净增 9.6 亿美元,上周净增 -2 亿美元,环比下降 120%。
(DeFi 链上锁仓价值)
具体来看,上周 ETH 抵押量从 496.3 万个增加至 648.2 万个,增幅 30.6%;BTC 抵押量从 53940 个增加至 76218 个,涨幅 41.3%。
从单个项目来看,锁仓价值前三名分别是:
Aave:13.2 亿美元,环比下降 22.8%;
Maker:12.4 亿美元,环比下降 13.8%
Compound:6.09 亿美元,环比下降 23.4%
4.挖矿
(数据来自etherchain.org)
etherchain.org数据显示,平均算力环比上涨约 7.6%,暂报 233.8 TH/s;平均挖矿难度环比上涨 7.39%,暂报 2934 T;新增地址环比下降 40%;流动性挖矿持续火热,上周网络 Gas 费用飙升,挖矿总收入上涨 86%,矿工脸上笑开了花。
欧科云链OKLink数据显示,9 月 1 日 SushiSwap Staking Pool 合约地址手续费高达519.87 ETH,占以太坊全网手续费的2.69%,位列全网第三名,仅次于Uniswap和Tether USD。
The Block Research数据显示,以太坊矿工 9 月 2 日,创下 1700 万美元的历史最高费用收入,该数字是 2017 年 12 月和 2018 年 1 月加密货币价格飙升时记录的最高金额的 3.7 倍。
四、消息面
1.数据:8月以太坊矿工产生了逾1亿美元的费用,是比特币矿工的三倍
The Block研究总监Larry Cermak发推称,8月份以太坊矿工产生了1.153亿美元的费用。相比之下,在同一时期,比特币矿工仅产生了3920万美元的费用,大约是以太坊矿工的三分之一。
2.DEX月交易量超过100亿美元,Uniswap创最高日交易量
据Dune Analytics数据,去中心化交易所(DEX)的月交易量已飙升至超过100亿美元,八月份的交易量比七月份增加一倍以上。DeFi用户总数接近40万,主要平台是基于以太坊的DEX Uniswap,占用户总数的57%。此外,Uniswap在周末创下有史以来最高的每日交易量,交易额超过4.5亿美元,首次超过Coinbase Pro的每日交易量。此外,DappRadar最新报告称,8月份以太坊的总交易额超过240亿美元。(Decrypt)
3.Tokenview:八月Tether新增印钞约合35.23亿USDT
Tokenview区块浏览器数据显示,截至8月31日,Tether新增印钞约35.23亿USDT,新发行53.78亿USDT,销毁10亿USDT(TRX) 。其中以太坊上印钞数量约为22.2亿,占比63.01%,波场链上约为13亿,占比36.99%. 当前USDT的流通量约为101.53亿。在发行方面,约有5.86亿枚流入了Bitfinex交易所,占比10.8%;17.77亿枚流入币安交易所,占比33.04%。
4.瑞士楚格州将允许公民使用以太坊交税
随着数字货币的接受程度不断提高,瑞士楚格州将开始允许公民用比特币和以太坊交税。当地政府在今日的一份声明中表示:“公司和个人都可以通过加密货币进行税收结算,最高金额为10万瑞士法郎(约合10.97万美元)。”据悉,该地区正在与总部位于苏黎世的比特币经纪公司Bitcoin Suisse AG合作,后者将把比特币转换成瑞士法郎后再转到该州。(彭博社)
5.维也纳证券交易所列出首个加密货币ETP
中欧最大的证券交易所之一维也纳证券交易所(Wiener Börse)列出了首个针对比特币和以太坊的交易所交易产品(ETP)。该地区的专家表示,这似乎是一个强烈的采用信号。据悉,该单资产产品由瑞士金融科技公司21Shares发行,交易代码为ABTC,旨在追踪比特币和以太坊的走势。换句话说,维也纳证券交易所的客户现在可以通过一个受监管的交易平台获得加密货币敞口,而不必自己直接购买加密货币。
此前消息,21Shares已在德国证券交易所Xetra推出了一款集中清算的看空比特币交易所交易产品(Short Bitcoin ETP,SBTC)。在此之前,21Shares已成功推出了另外11款加密货币ETP产品。(Decrypt)
6.数据:Deribit以太坊期权未平仓合约创历史新高
Skew数据显示,上周二,Deribit以太坊期权未平仓合约升至创纪录的5.07亿美元,超过了8月20日创下的历史最高纪录4.38亿美元。(CoinDesk)
- 免责声明
- 世链财经作为开放的信息发布平台,所有资讯仅代表作者个人观点,与世链财经无关。如文章、图片、音频或视频出现侵权、违规及其他不当言论,请提供相关材料,发送到:2785592653@qq.com。
- 风险提示:本站所提供的资讯不代表任何投资暗示。投资有风险,入市须谨慎。
- 世链粉丝群:提供最新热点新闻,空投糖果、红包等福利,微信:juu3644。

路安



