魔方宇宙歌曲张竞元叠纸网络申请注册多个元宇宙商标
摘要:魔方宇宙歌曲张竞元近日,根据天眼查数据显示,叠纸网络申请注册了多个元宇宙相关的商标,包括"恋与元宇宙""叠纸元宇宙""暖暖元宇宙"等。商标分
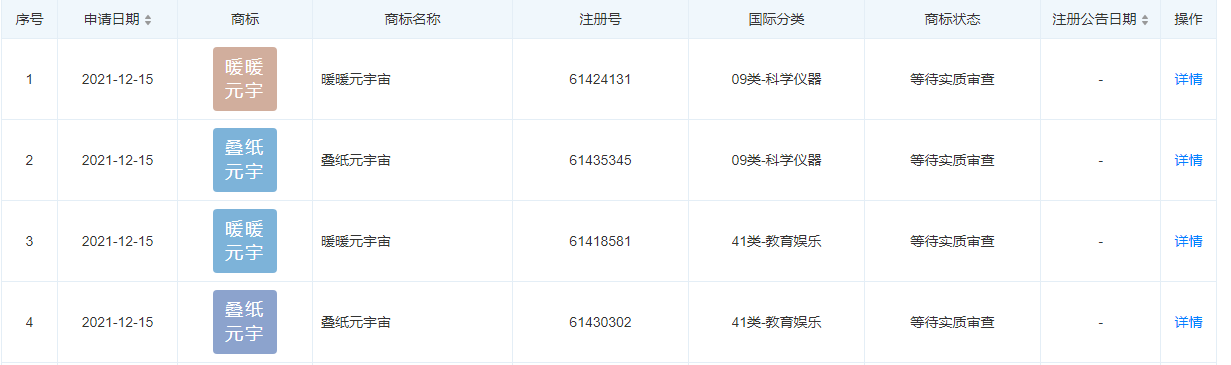
近日,根据天眼查数据显示,叠纸网络申请注册了多个元宇宙相关的商标,包括“恋与元宇宙”“叠纸元宇宙”“暖暖元宇宙”等。
商标分类包含教育娱乐和科学仪器,商标状态均为等待实质审查。本次商标均为叠纸旗下知名游戏IP,包括《恋与制作人》和《奇迹暖暖》。
据天眼查数据显示,截至12月19日,名称中含“元宇宙”的商标申请总量已超853挖矿赚钱4条,共有1368家公司参与申请。
此前已有众多游戏公司参与其中,虽然还没有相应的游戏,但商标抢注阶段均已发力。腾讯申请了 “QQ元宇宙”、“魔方元宇宙”、“和平元宇宙”、“精英元宇宙”等商标‘’网易旗下有“网易元宇宙”、“雷火元宇宙”、“伏羲元宇宙”等商标;米哈游注册了“米宇宙”商标,互联网公司快手、百度以及巨人网络的“球球元宇宙”等商标也处于申请状态。
- 免责声明
- 世链财经作为开放的信息发布平台,所有资讯仅代表作者个人观点,与世链财经无关。如文章、图片、音频或视频出现侵权、违规及其他不当言论,请提供相关材料,发送到:2785592653@qq.com。
- 风险提示:本站所提供的资讯不代表任何投资暗示。投资有风险,入市须谨慎。
- 世链粉丝群:提供最新热点新闻,空投糖果、红包等福利,微信:juu3644。

路安



